近日,菲特能特设计团队捷报频传,荣获实用新型专利,《一种施肥机》实用新型专利于2020年1月29 日正式通过,此项专利由李怀春设计师主要负责设计完成。

《一种施肥机》通过设置反冲洗叠片过滤器及相匹配的反冲洗单元,当反冲洗叠片过滤器内的杂质需要清理时,可快速对反冲洗叠片过滤器进行清洗。

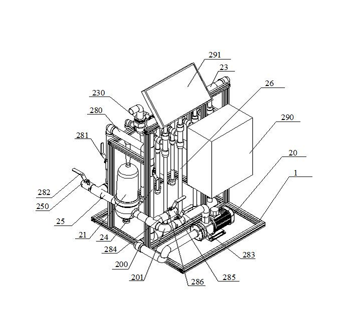
该发明解决了现有技术中因施肥机设置手动清洗过滤器发生堵塞进行清洗时效率低下的技术问题。包括:水泵、反冲洗叠片过滤器、空气阀连接管道、中间进水管道、中间注肥管道及注肥控制装置;水泵的出口通过泵出水管道与反冲洗叠片过滤器的入口连接,反冲洗叠片过滤器的出口连接出肥管道;反冲洗单元,包括:反冲洗进水管道,一端连接中间进水管道,另一端连接出肥管道,并设置反冲洗进水电磁阀;防倒流电磁阀,设置于泵出水管道;排污管道,与泵出水管道连接;控制单元,与施肥单元及反冲洗单元电连接。
与现有技术相比,提高了清洗效率,进而提高了施肥效率。
上述专利以菲特能特在设计与检测过程中面对的实际工程问题为基础,通过实际工程技术总结与室内试验研究,提出的创新性的技术成果,也是公司宝贵的知识产权,对增强公司科技力量及市场竞争力提供了有力支撑。
琨玉珑生态农业股份有限公司是由鼎德华夏农业科技集团投资建设的生态农业产业示范企业。琨玉珑下辖四川省眉山市丹棱九龙山基地、四川省眉山市东坡区悦兴基地、四川省眉山市青神县白果基地、四川省眉山市东坡区永兴基地等4个主要生产基地,种植面积3200亩。主要种植突尼斯软籽石榴;晚熟柑桔,如爱瑗38、不知火、春见、大雅等。公司拥有200亩的脱毒种苗繁育中心,提供优质的突尼斯软籽石榴与晚熟柑桔种苗。
地址:
四川省丹棱县杨场镇古井村
电话:
028-3828 1088
Copyright © 琨玉珑生态农业股份有限公司 版权所有 备案号:蜀ICP备19038263号-1